Product News
Focus on logic valves: High-performance components for demanding hydraulic applications
Limited space in the control block and the demand for maximum energy efficiency determine the design of hydraulic systems. Designers of mobile machinery and stationary industrial equipment face the challenge of ensuring maximum hydraulic performance with minimum installation space and maximum energy efficiency.
Conventional directional control valves often reach their physical limits – whether due to limited flow rates or the space required for external piping. Logic valves act as problem solvers in this technical area of conflict.
Logic valves do not function as simple mechanical openers or closers, but as integral, pressure-controlled valve elements. They control the volume flow and pressure in a system based on logical connections such as AND, OR, and NOT.
ARGO-HYTOS offers logic valves that combine high flexibility with extreme compactness. They enable precise control of pressure, volume flow, and flow direction — even for requirements that exceed the performance limits of conventional built-in valves. Control is achieved by detecting pressure conditions at several inputs, allowing the valve to hydraulically determine whether to open, close, or regulate.
What characterizes logic valves as integral system components?
The technical added value of the valves is defined by their design and the resulting performance data.
High flow rates thanks to flow-optimized geometries
A key feature is the ability to handle high volume flows with low losses. ARGO-HYTOS has consistently optimized the internal geometries of the sleeves and spools for flow efficiency. Turbulence and constrictions, which normally cause high pressure drops and heat generation, have been minimized in the design.
The result is components that are ideal for central supply lines. The SL2H-BP3 size handles volume flows of up to 80 l/min. For applications with even higher performance requirements, the SL2H-CP3 size is available, which controls up to 120 l/min.
These values enable use as a main stage valve in high-performance machines without having to resort to large-scale flange valves. This high flow factor is particularly crucial in systems where rapid traverse speeds must be achieved in order to keep cycle times short.
Compact design and functional integration
Logic valves integrate several functions in a single valve block. Depending on how the surface area is controlled, a single valve can perform tasks that previously required several individual components. This significantly reduces the space required in the block and simplifies installation.
Fewer components mean fewer sealing points, a lower risk of leakage, and reduced inventory. Designers use this advantage to implement complex logic such as memory charging circuits or rapid traverse feed circuits in the smallest of spaces. This is often done directly on the cylinder or motor.
Robust design for extreme loads
ARGO-HYTOS logic valves are designed for a maximum operating pressure of 350 bar. This pressure resistance guarantees that the valves operate safely even in high-pressure applications, such as those commonly found in mobile hydraulics or press technology.
In order to withstand adverse environmental conditions such as road salt in winter service or fertilizers in agriculture, the valves feature high-quality corrosion protection. In addition, the valves are insensitive to dirt particles and temperature fluctuations, which increases the availability of the entire machine.
Why are logic valves ideally suited for demanding hydraulic applications?
The pure hardware specification is the basis, the operational benefit in the hydraulic circuit is the goal. Logic valves play to their strengths particularly where dynamics and efficiency are required.
In working hydraulics, cylinders and motors often have to react quickly to load changes. Abrupt switching leads to dangerous pressure peaks that cause material fatigue. Logic valves enable dynamic motion control that guides cylinders and motors precisely, even under changing loads.
Thanks to the special coordination of control edges and springs, the valves switch quickly while avoiding hard impacts in the system. This controlled transition, often referred to as soft shift, protects pipes, seals, and steel structures.
Minimizing power loss is the most important lever for economical machines. Logic valves contribute to efficient operation by precisely controlling the flow of fluid. They support modern concepts such as load sensing and pressure reduction.
In a load-sensing system, the logic valve often acts as a pressure compensator. Regardless of the load pressure at the consumer, it keeps the pressure difference across a throttle point constant. This ensures that only the exact amount of energy required for the movement is provided.
How does the technology work in detail?
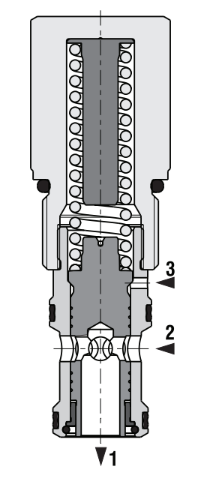
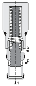
The logic valve acts as a key component in a hydraulic system. The modular valve technology allows it to be used as part of screw-in systems and can be flexibly combined with other valve functions. Technically, the valve is based on a spool design with hardened precision parts.
ARGO-HYTOS offers the following variants to map different control strategies:
- Built-in normally open (NO) version: These models are open in their default position. Without control pressure, the oil flows freely. This variant is ideal for pressure balancing functions or circuits that must switch to unpressurized mode in the event of a fault (fail-safe open).
- Installation version normally closed (NC): The models block the flow in the rest position. They only open when a defined control pressure is reached. This logic is ideal for load holding functions, pressure limitation, and sequence switching.
- Adjustable pressure stages: The valves are available with either a fixed setting or adjustable setting. The adjustment range is from 3 to 20 bar. This fine tuning allows you to calibrate the response behavior and hysteresis precisely to the requirements of your machine.
All variants use standardized form bores, which simplifies integration into the control block and spare parts supply. For more information on the characteristic curves and installation dimensions, please refer to our data sheets.
What specific problems do logic valves solve in design practice?
In the daily practice of hydraulic development, engineers often face a major challenge. They have to implement complex functions such as prioritizing working circuits or safeguarding against pressure peaks without exceeding the installation space constraints. Logic valves solve this problem thanks to their multifunctionality.
A classic example of their use is as a pressure balancer in combination with a proportional valve. The logic valve ensures that the volume flow to the consumer remains constant, even if the system pressure fluctuates due to the connection of additional consumers or the load on the cylinder varies.
Without this compensation, the working speed of the cylinder would fluctuate uncontrollably, making precise work impossible. The logic valve compensates for these pressure differences in milliseconds, thus guaranteeing consistent performance.
Another scenario is the implementation of “floating positions” or free-wheel functions in mobile machines. Normally open logic valves allow oil to flow back to the tank with low resistance when the system is switched off or in certain operating modes. This prevents cavitation in motors that continue to run and allows booms to be moved manually during maintenance.
The ability to combine the valves with various control covers and pilot valves also allows complex AND/OR circuits to be set up. This ensures, for example, that a certain working pressure is only released when several safety conditions (e.g., “door closed” AND “two-hand control active”) are hydraulically fulfilled.
This logical connection directly in the fluid flow dramatically increases reliability, as it functions independently of electronic signals. The reduction in piping and screw connections also minimizes potential leak points. This not only protects the environment but also reduces maintenance costs over the machine's life cycle.
Added value through intelligent valve technology
Choosing logic valves from ARGO-HYTOS means choosing technical excellence and economic foresight. You get components that do much more than just release or block oil flow. The combination of high power density, extreme robustness, and intelligent control characteristics takes your hydraulic systems to a new level of efficiency.
The ability to control volume flows of up to 120 l/min in the smallest of spaces while safely handling pressures of up to 350 bar gives designers the freedom they need for innovative machine designs.
Whether you are developing a new machine series or optimizing existing systems, integrating these logic elements is the key to more compact, lighter, and more powerful hydraulic blocks.
Would you like to implement your next development with integrated logic valves, or do you need support in designing the control surface ratios? The ARGO-HYTOS engineering team is ready to work with you to define the optimal solution. Contact us now!



